
Затемнение «умного» окна жестом. Honda
Сегодня некоторые автопроизводители уже выпускают электрохромные окна для автомобилей. Они могут автоматически затемняться в зависимости от освещения. Затемнением можно управлять и вручную с помощью клавиш в салоне. Во многих современных автомобилях также используются затемняющиеся зеркала заднего вида — они приглушают отражения фар сзади идущих машин в ночное время.
Запатентованное компанией Honda окно существенно отличается от уже существующих электрохромных окон. Последние состоят из нескольких тонких слоев стекла, перемежающихся электрохромными или жидкокристаллическими пленками. Затемняющиеся слои в «умном» стекле Honda предполагается делать из множества небольших элементов, каждым из которых можно будет управлять индивидуально.
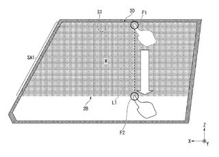
Окно также получит сенсорный слой по всей поверхности со стороны салона автомобиля. Контроллер этого сенсорного слоя сможет обрабатывать различные жесты. Например, если пользователь в любой области окна проведет пальцем сверху вниз, окно начнет затемняться вслед за движением пальца. Внешне этот эффект напоминает опускающуюся шторку, причем «шторку» можно довести до любого места на стекле.
Степень затемнения опущенной «шторки» можно будет регулировать, проводя по стеклу пальцем слева направо или справа налево. Если вести пальцем влево, окно станет светлее, если вправо — темнее. Если окно затемнено полностью и на него в любом месте поставить два сведенных вместе пальца, а затем развести их, то в затемнении появится круглая прозрачная область. Ее размер также можно регулировать пальцами.
Другие подробности о новом «умном» стекле не уточняются. Согласно патенту японской компании, «умными» предполагается изготавливать ветровые и боковые стекла автомобилей.
Затемняющиеся электрохромные стекла сегодня устанавливаются на спортивные автомобили Ferrari 575M Superamerica, а также некоторые модели автомобилей Maybach. В пассажирском лайнере Boeing 787 Dreamliner электрохромные стекла установлены в илюминаторах. Регулировка их затемнения заменяет обычные для самолетов шторки.
Василий Сычёв